Apple dépose le brevet d'un système éliminant les angles morts sur les voitures

Benoît Théry
Mis à jour le 28 novembre 2019 à 12h03
Apple Car Concept

Apple a déposé une série de 61 brevets dont l'un d'eux est susceptible d'améliorer la gestion des angles morts sur les voitures. Cette initiative en partie basée sur la reconnaissance faciale confirme la poursuite du « projet Titan », qui doit fournir à la marque à la pomme sa propre voiture autonome.

Parmi ses autres brevets déposés par Apple, on retrouve l'idée d'une utilisation d'un iPhone comme clé de voiture.

Les angles morts sur son pare-brise

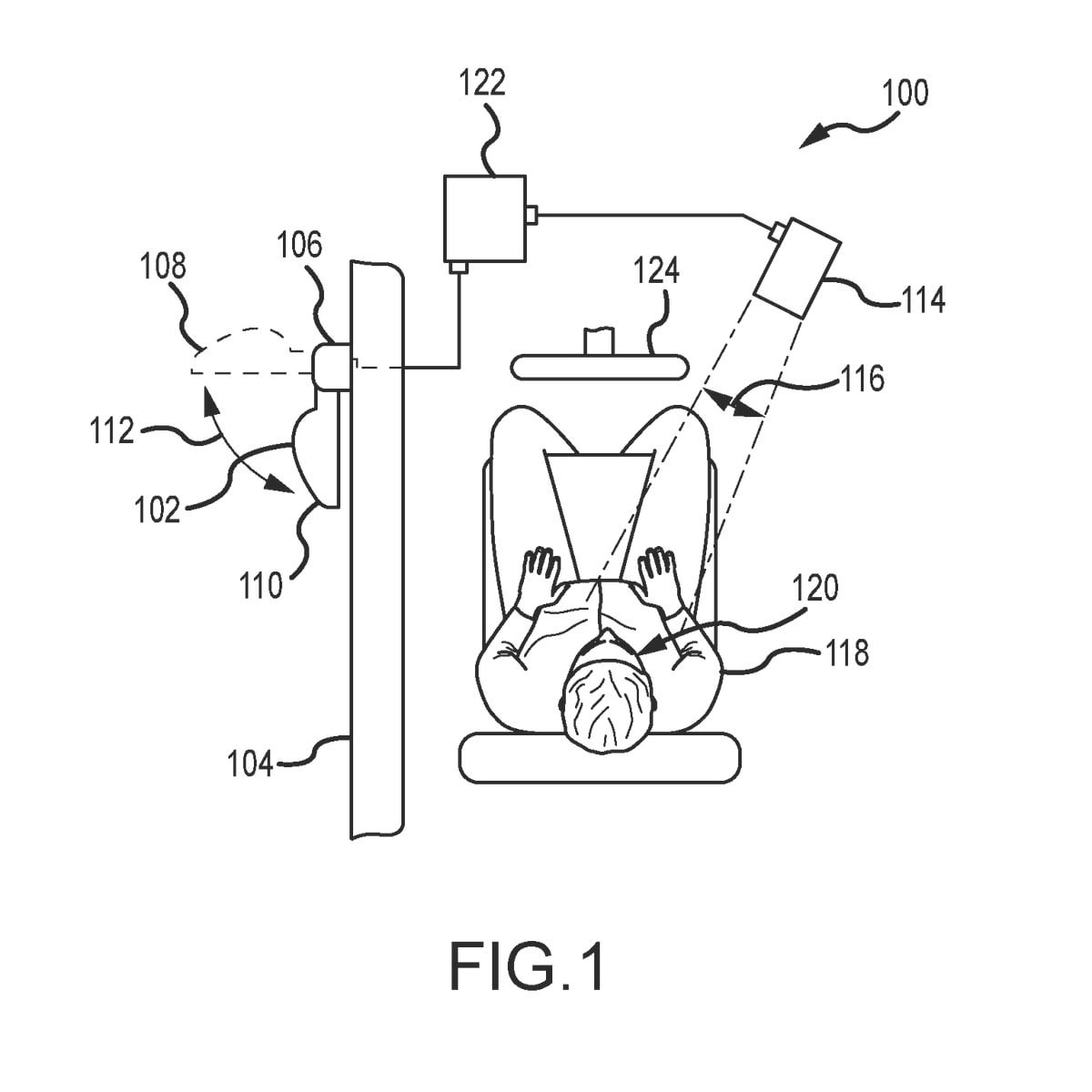
Un des brevets est intitulé « Systèmes pour l'amélioration des rétroviseurs extérieurs d'un véhicule ». Son fonctionnement est assez simple : cela consiste à projeter sur le pare-brise ou sur les vitres du véhicule l'image de ce qui se trouve dans les angles morts situés sur les côtés de la voiture. En temps normal, le conducteur devrait tourner la tête pour s'assurer qu'aucun obstacle ne se trouve dans ces zones.

Le système fait également intervenir la reconnaissance faciale (comme le montre le schéma ci-dessous). Une caméra fixée sur le pare-brise filme le visage du conducteur et détermine la direction dans laquelle il regarde. Selon les situations, le mécanisme est capable de déployer ou de rétracter les rétroviseurs extérieurs.

Quoique sensiblement différent, le brevet évoque l'invention d'Alaina Gassler, une adolescente de 14 ans ayant récemment dévoilé une solution pour voir à travers les montants d'un véhicule.

Brevet Apple Car


Une Apple Car entre 2023 et 2025 ?

Le système d'Apple serait prévu aussi bien pour la conduite traditionnelle que pour la conduite autonome. La modification des rétroviseurs extérieurs pourrait a priori fournir de nouveaux capteurs à l'IA pilotant les véhicules autonomes. Ceci confirme l'intérêt d'Apple pour le « projet Titan », longtemps resté incertain. Le P.-D.G. d'Apple, Tim Cook, avait en effet déclaré en 2017 qu'il n'était pas à l'ordre du jour.

Les rumeurs d'une reprise du projet ont fait suite à diverses annonces. L'année passée, l'analyste d'Apple Ming-Chi Kuo a estimé que l'Apple Car pourrait être disponible entre 2023 et 2025. En avril dernier, Apple déclarait négocier avec des fournisseurs de capteurs pour voitures autonomes. Aujourd'hui, selon Reuters, Apple disposerait de 1 200 personnes travaillant sur le « projet Titan ».

Les autres brevets récemment déposés par Apple mentionnent également des fonctionnalités à destination du secteur automobile. Quelques jours après notre test de l'assistant embarqué Apple CarPlay, le constructeur annonce ainsi qu'il sera possible de démarrer son véhicule avec un iPhone ou une Apple Watch.

Source : Digital Trends
Vous êtes un utilisateur de Google Actualités ou de WhatsApp ?
Suivez-nous pour ne rien rater de l'actu tech !
Commentaires (NaN)
Commentaires (7)
TheLoy

Tous ces systèmes sont de très bonnes initiatives, les montants de pare-brise et les angles morts sont de véritables plaies. Même un bon conducteur va pouvoir foirer un contrôle sur un trajet et il suffit que ce soit au moment où il y ait quelqu’un.

Pour la marche arrière aussi ce serait top d’avoir un système qui projette une vue à 180 degrés de l’arrière du véhicule. Cela éviterait d’avoir à se contorsionner pour regarder derrière. Et puis même en tournant on ne peut pas couvrir tous les angles.

Une fois que les solutions existeront il faudra faire en sorte de les rendre abordables voire obligatoires en modifiant la législation comme cela a été le cas pour l’ABS puis l’ESP.

obyoneone

le truc inventé par un gamine de 14 ans ? ils lui reverseront des droits ou ils pomperont du gratos pour faire du fric comme leur OS basé sur Unix ?

Sinic

Les deux concepts n’ont rien à voir dans leur conception, ni dans leurs dates de développement (Le brevet d’Apple a commencé à être développé il y a déjà plusieurs années). J’ai mentionné l’idée de l’adolescente pour faire un parallèle avec une actualité récente, ça ne veut pas dire qu’Apple l’a repompée

BetaGamma

Sauf que c’est connu et déjà proposé… encore un brevet à la khon pour Apple le spécialiste du genre qui a déjà déposé les coins carrés et autres brevets papier sans vrais prototypes !

nordic16

Vivement que ces systèmes anti angles morts deviennent la norme pour les camions. Des danger sur roues en ville surtout pour tous ceux pouvant se retrouver dans leur angle mort droit.

obyoneone

en camion, une caméra arrière serai bien, comme sur les camping cars récents

Blackalf

S’il y a problème, c’est qu’on a affaire à un mauvais chauffeur, exactement comme il existe de mauvais automobilistes qui n’utilisent pas leurs rétros neutre

Ca fait 16 ans que j’ai cessé de conduire des camions, mais à l’époque ceux que j’ai conduit avaient déjà tous :

  • un grand rétro de chaque côté
  • au-dessus ou en-dessous de ceux-ci un plus petit avec un angle de vue plus large
  • un rétro grand angle au-dessus du pare-brise, dirigé vers le bas, pour voir toute la largeur de la calandre et ce qui se trouve devant le camion
  • un rétro grand angle au-dessus de la portière droite, dirigé vers le bas

Bref, il faut vraiment être inattentif pour accrocher quelque chose, parce qu’il n’y a quasiment aucun angle mort ^^