
Un nouveau brevet laisse découvrir un projet signé Apple, permettant d'accrocher deux écrans Pro Display XDR.
Un Double Pro Stand parce que… parce que pourquoi pas ?
Vers un Double Pro Stand chez Apple ?
Sur la boutique Apple, les férus de belles images peuvent faire l'acquisition de l'écran Pro Display XDR, une dalle Retina 6K de 32" affichée à partir de 5 499 €. Cette dernière peut s'accompagner, en option, d'un pied baptisé Pro Stand, à 1099 €.
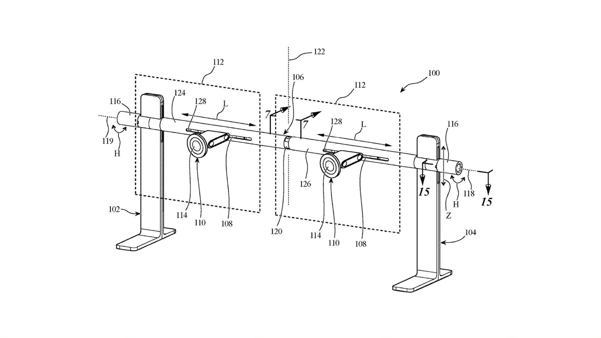
Du côté de chez Apple, on a déposé un brevet concernant un Pro Stand capable de soutenir, non plus un, mais deux écrans Pro Display XDR. À noter que ce dernier a été déposé en mars 2019, mais vient tout juste d'être publié.

L'occasion de découvrir un pied (forcément) très large, capable d'accueillir deux écrans positionnés côte à côte. Évidemment, un dépôt de brevet n'est jamais synonyme d'une commercialisation à venir, et il y a fort à parier que ce Double Pro Stand ne voit jamais le jour.
Source : 9to5Mac