Disney a déposé un brevet pour un système d'intelligence artificielle capable de vérifier automatiquement les dispositifs de retenue dans ses attractions. Une technologie qui pourrait réduire les temps d'embarquement dans ses parcs.

À Disneyland Paris, ou dans d'autres parcs à thèmes, certaines attractions très prisées des visiteurs ont du mal à gérer le flux, parfois à cause des impératifs de sécurité, avec la gestion des harnais, etc. Imaginez maintenant une caméra qui scrute chaque siège pendant l'embarquement, qui croiserait ses données avec plusieurs capteurs, et déterminerait si chaque passager est correctement retenu, sans qu'un opérateur humain ait besoin de se déplacer. Un brevet publié il y a quelques jours par le géant Disney détaille ce concept. Avec pour objectif de réduire les temps de chargement des attractions, et de renforcer la sécurité à chaque rotation.
Disney brevette pour ses parcs d'attractions un système d'IA qui surveille chaque siège en temps réel pendant l'embarquement
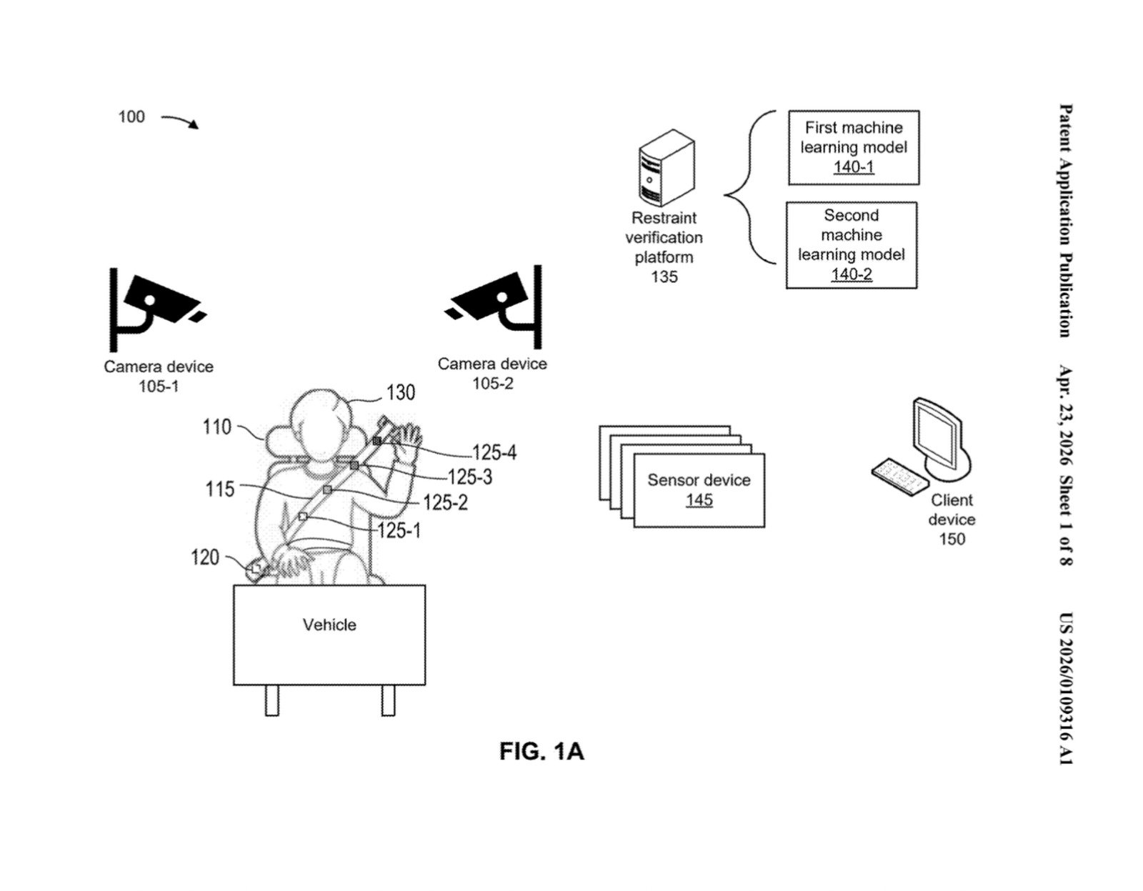
Le système breveté par Disney, présenté par plusieurs blogs spécialisés dans l'univers de Mickey, fait état de caméras qui filment en permanence chaque siège dès que les passagers s'installent. Il n'y a donc ici pas d'humain qui vient physiquement scruter si votre harnais a suffisamment été baissé pour que vous ne quittiez pas l'attraction en plein looping dans l'attraction Indiana Jones de Disneyland Paris, par exemple. On imagine tout de même qu'un humain aura accès à toutes les données remontées par les capteurs, et qu'un contrôle physique sera aussi effectué, mais peut-être sera-t-il plus rapide. D'ailleurs, détaillons un peu le concept.
Ici, les images captées par les caméras sont ensuite analysées par plusieurs algorithmes d'intelligence artificielle, chacun spécialisé dans une tâche précise. L'un évalue la morphologie et la position du passager, un autre identifie le type de retenue présent (harnais, barre de maintien ou ceinture), et un troisième détermine si ce dispositif est correctement en place avant que l'attraction ne démarre.
En parallèle de l'analyse vidéo, plusieurs capteurs physiques alimentent le système en données. L'un détecte si un passager est bien assis, un autre vérifie que la retenue est bien verrouillée, et un troisième mesure la longueur de ceinture effectivement déployée. En croisant toutes ces informations, qui pour certaines sont parfaitement complémentaires, d'autres doublées, le système peut repérer des anomalies qu'un œil humain ne remarquerait parfois pas, comme une ceinture pas suffisamment serrée.
Ce qui rend ce système particulièrement intéressant, c'est sa capacité à détecter des situations trompeuses. Le brevet cite deux cas concrets. On a celui d'un passager assis sur sa ceinture, plutôt que dessous, ou une ceinture volontairement allongée pour donner l'illusion d'être bouclée. La surveillance ne s'arrête pas au départ de l'attraction d'ailleurs, si un passager se détache en cours de trajet, le système peut déclencher une alerte ou stopper le manège immédiatement. Toutes les attractions ne sont aujourd'hui pas équipées d'un tel système.

Moins de secondes perdues sur le quai des attractions, plus de rotations par jour
À Walt Disney World, l'immense parc floridien où pourrait être testé un tel système, chaque seconde compte, comme dans tous les autres parcs. Sur une attraction à forte capacité, vérifier « à la main » chaque retenue, siège par siège, peut prendre un temps considérable et allonger les temps d'attente. Multipliez cela par des centaines de rotations par jour… Le brevet le reconnaît explicitement, en évoquant une inspection « chronophage » qui exige un niveau d'attention soutenu à chaque cycle. Avec ce système, les opérateurs n'auraient plus à parcourir l'intégralité du véhicule. L'IA pourrait leur signaler uniquement les sièges qui posent problème.
Ce n'est pas une idée totalement nouvelle pour Disney. Sur l'attraction Dinosaur, à Animal Kingdom, des caméras avaient déjà été fixées directement sur les véhicules, permettant aux Cast Members (les employés des parcs) de visualiser l'ensemble des passagers depuis leur poste de commande, sans avoir à se déplacer. Mais ces caméras n'étaient qu'un outil d'aide visuelle, car les agents effectuaient quand même une vérification physique et demandaient aux visiteurs de tirer sur la fameuse étiquette jaune de leur barre de maintien pour confirmer qu'elle était bien verrouillée. Vous noterez, pour l'anecdote, que cette attraction est définitivement fermée depuis plusieurs semaines. Elle sera remplacée par une attraction Indiana Jones.
Déposer un brevet ne garantit pas qu'une technologie finira un jour dans un parc. Après tout, le géant Disney en publie des centaines par an, et beaucoup restent dans les cartons. Mais celui-ci a de bonnes chances de trouver une application concrète, notamment sur les attractions où les ceintures sont le principal dispositif de sécurité, et où une erreur de bouclage est difficile à repérer rapidement. Pour les visiteurs, rien ne changerait visiblement. Pour les files d'attente, en revanche, l'effet pourrait être bien réel.