
Samsung serait le dernier constructeur à adopter ce design pour ses prochains smartphones pliants, et se débarrasserait d'un défaut esthétique qui pourrait rebuter certains consommateurs.
Samsung a été l'un des pionniers sur le marché des smartphones à écrans pliables, avec sa gamme Galaxy Z Fold, suivie du Galaxy Z Flip.
Une pliure disgracieuse qui pourrait être de l'histoire ancienne
Si année après année, la marque est repassée par la table à dessin pour améliorer la résistance de son appareil, les smartphones Samsung laissent toujours apercevoir la pliure de l'écran une fois le smartphone ouvert. Le Galaxy Z Fold 4, sorti à l'été 2022, en est la démonstration la plus parlante.
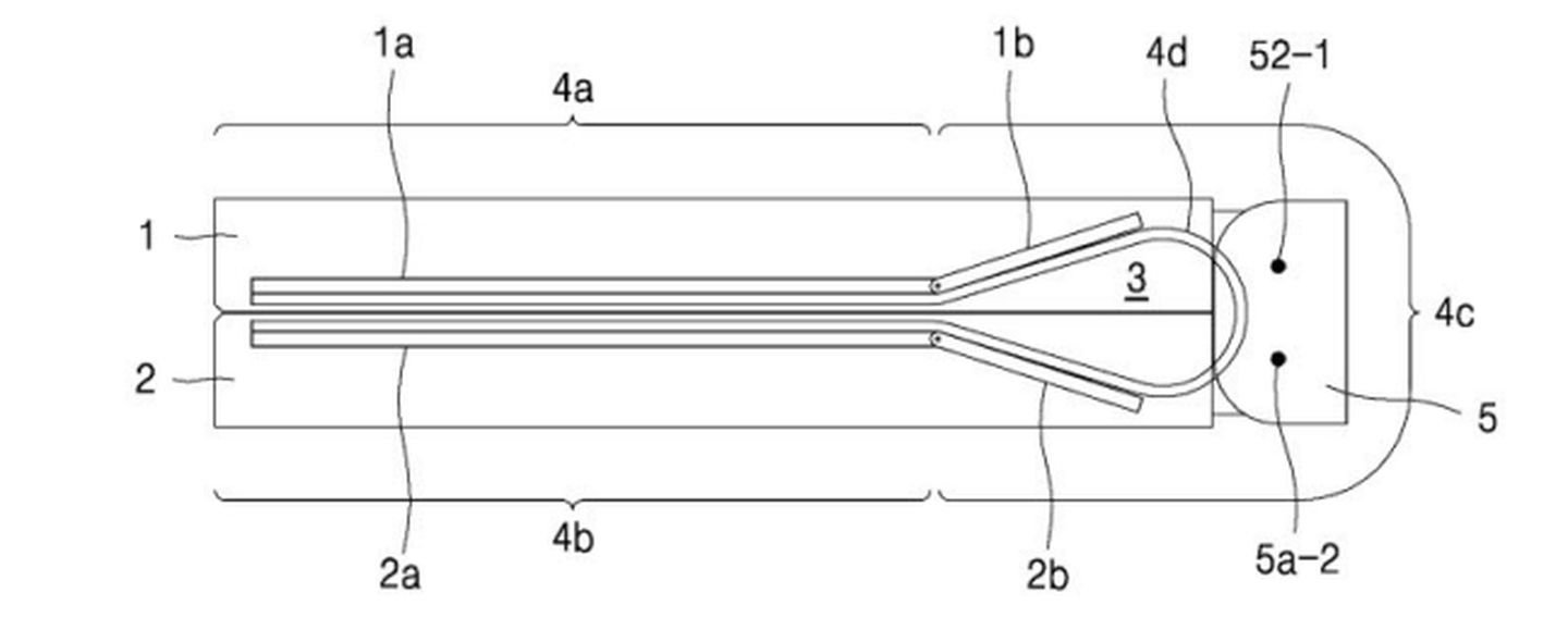
La faute en incombe à la charnière développée par la marque, en forme de
« U ». Cette dernière place l'écran à un angle plus important une fois le smartphone replié, et cela a comme conséquence de marquer la dalle, d'où l'apparition de la pliure.
Cette structure a aussi comme inconvénient de laisser un léger espace entre les deux parties du téléphone lorsqu'il est plié, avec la possibilité de voir s'infiltrer des poussières et autres débris.
Samsung adopterait un nouveau système de charnière avec le Galaxy Z Fold 5
Samsung pourrait donc, avec son futur Galaxy Fold 5, adopter un nouveau système de charnière en « goutte d'eau ». Ce dernier, appelé ainsi à cause de la forme de larme qu'il adopte, applique une courbure bien plus importante sur la dalle lorsque le smartphone est fermé, limitant ainsi la marque de la pliure. Le dernier Motorola RAZR ou l'OPPO Find N2 utilisent déjà ce type de mécanisme.
Ce format de charnière est loin d'être une nouveauté pour le constructeur coréen. Ce dernier a en effet déposé un brevet concernant une charnière en « goutte d'eau » dès 2016, mais ne l'a jamais mis en pratique. Samsung aurait attendu de pouvoir proposer une certification IPX8 à ses différents appareils pliants avant d'adopter ce mécanisme. La marque serait la première à proposer un smartphone pliant avec ce type de charnière et résistant à l'eau.

Le Galaxy Z Fold 5 pourrait en outre faire disparaitre l'interstice entre les deux parties du téléphone lorsqu'il est plié.
Si Samsung conserve son calendrier habituel, il faudra attendre le mois d'août prochain pour une présentation complète du Galaxy Z Fold 5. La sortie du smartphone interviendrait quelques jours après l'annonce.
Source : The Verge